欢迎来到江西金石宝机械设备有限公司网站 !

Product Show

XFD系列浮选机




XFD系列浮选机广泛用于地质、冶金、建材、矿业、化工等科研部门实验使用。

 

         用途实验室XFD系列浮选机


      实验室用XFD型系列单槽式浮选机供地质、冶金、建筑材料、化学等工业实验室浮选少量矿样用。

       

       主要技术参数:

序号

技术参数

单位

数值

XFD-0.5

XFD-0.75

XFD-1

XFD-1.5

XFD-3

XFD-8

1

浮选槽容积

L

0.5

0.75

1

1.5

3

8

2

叶轮直径

MM

φ45

φ45

φ55

φ60

φ70

φ80

3

叶轮转速

/

2590

2590

2100

1910

1890

1400

2340

2340

1900

1750

1708

1400

2130

2130

1700

1590

1544

1400

5

给料粒度

MM

-0.2

-0.2

-0.2

-0.2

-0.2

-0.2

6

电机

W

2800/  180

6324    1410/  250

7

电压

V

380

380

380

380

380

380

8

外型尺寸

520

520

520

560

570

380

263

263

263

265

310

505

628

628

628

590

668

970

9

重量

kg

30

30

35

40

50

80

 


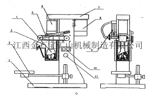
          产品结构简介实验室XFD系列浮选机


 



XFD型系列浮选机由下列主要部件组成:

(1) 机座(2)托板(3)槽体(4)搅拌部(5)刮板部分(6)主轴部分(7)护罩(8)电机(9)流量计(10)控制开关(11)刮板开关

所有部件都紧固在机体上,主轴按顺时针方向转动,通过不同皮带槽主轴产生三种不同的速度;刮板的转动由刮板电动机通过皮带轮带动,刮板的位置可通过蝶形螺母调节高低。